Feedback
|
Table Of Contents
3.2.1 EC1-12 Slots and Connectors
3.2.2 EC1-12 Faceplate and Block Diagram
3.2.3 EC1-12 Hosted by XC, XCVT, or XC10G
3.2.4 EC1-12 Card-Level Indicators
3.2.5 EC1-12 Port-Level Indicators
3.3.1 DS1N-14 Features and Functions
3.3.2 DS1-14 and DS1N-14 Slots and Connectors
3.3.3 DS1-14 and DS1N-14 Faceplate and Block Diagram
3.3.4 DS1-14 and DS1N-14 Hosted by the Cross-Connect
3.3.5 DS1-14 and DS1N-14 Card-Level Indicators
3.3.6 DS1-14 and DS1N-14 Port-Level Indicators
3.3.7 DS1-14 and DS1N-14 Specifications
3.4.1 DS3N-12 Features and Functions
3.4.2 DS3-12 and DS3N-12 Slots and Connectors
3.4.3 DS3-12 and DS3N-12 Faceplate and Block Diagram
3.4.4 DS3-12 and DS3N-12 Card-Level Indicators
3.4.5 DS3-12 and DS3N-12 Port-Level Indicators
3.4.6 DS3-12 and DS3N-12 Specifications
3.5 DS3-12E and DS3N-12E Cards
3.5.1 DS3N-12E Features and Functions
3.5.2 DS3-12E and DS3N-12E Slots and Connectors
3.5.3 DS3-12E Faceplate and Block Diagram
3.5.4 DS3-12E and DS3N-12E Card-Level Indicators
3.5.5 DS3-12E and DS3N-12E Port-Level Indicators
3.5.6 DS3-12E and DS3N-12E Specifications
3.6.1 DS3XM-6 Slots and Connectors
3.6.2 DS3XM-6 Faceplate and Block Diagram
3.6.4 DS3XM-6 Card-Level Indicators
3.6.5 DS3XM-6 Port-Level Indicators
3.7 Electrical Card Comparisons
Electrical Cards
This chapter describes Cisco ONS 15454 electrical card features and functions. For installation and card turn-up procedures, refer to the Cisco ONS 15454 Procedure Guide. For information on the electrical interface assemblies (EIAs), see the "Electrical Interface Assemblies" section.
Chapter topics include:
3.1 Electrical Card Warnings
Warning
Do not directly touch the backplane with your hand or any metal tool, or you could shock yourself.
CautionWhen working with cards, wear the supplied ESD wristband to avoid ESD damage to the card. Plug the wristband cable into the ESD jack located on the lower-right outside edge of the shelf assembly.
Note
Each card is marked with a symbol that corresponds to a slot (or slots) on the ONS 15454 shelf assembly. The cards are then installed into slots displaying the same symbols. See the "Card Slot Requirements" section for a list of slots and symbols.
3.2 EC1-12 Card
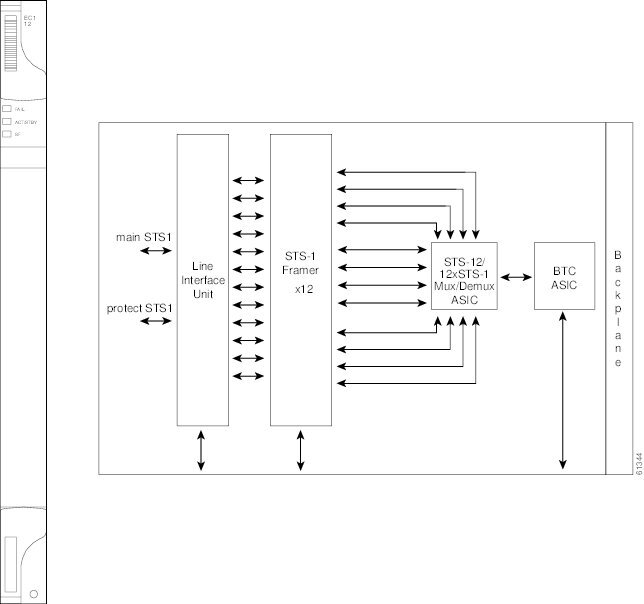
The EC1-12 card provides 12 Telcordia-compliant, GR-253 STS-1 electrical ports per card. Each port operates at 51.840 Mbps over a single 75 ohm 728A or equivalent coaxial span.
STS path selection for UNEQ-P, AIS-P, and bit error rate (BER) thresholds is done on the SONET ring interfaces (optical cards) in conjunction with the STS cross-connect. The EC1-12 terminates but does not select the 12 working STS-1 signals from the backplane. The EC1-12 maps each of the 12 received EC1 signals into 12 STS-1s with visibility into the SONET path overhead.
An EC1-12 card can be 1:1 protected with another EC1-12 card but cannot protect more than one EC1-12 card. You must install the EC1-12 in an even-numbered slot to serve as a working card and in an odd-numbered slot to serve as a protect card.
3.2.1 EC1-12 Slots and Connectors
You can install the EC1-12 card in Slots 1 to 6 or 12 to 17 (multispeed or high-speed card slot) on the ONS 15454. Each EC1-12 interface features DSX-level (digital signal cross-connect frame) outputs supporting distances up to 450 feet (137 meters) depending on facility conditions.
3.2.2 EC1-12 Faceplate and Block Diagram
Figure 3-1 shows the EC1-12 faceplate and a block diagram of the card.
Figure 3-1 EC1-12 Faceplate and Block Diagram
3.2.3 EC1-12 Hosted by XC, XCVT, or XC10G
All 12 STS-1 payloads from an EC1-12 card are carried to the XC, XCVT, or XC10G card where the payload is further aggregated for efficient transport. XC and XCVT cards can host a maximum of 288 bidirectional STS-1s. XC10G can host up to 1152 bidirectional STS-1s.
3.2.4 EC1-12 Card-Level Indicators
The EC1-12 card faceplate has three card-level LEDs, see Table 3-1.
3.2.5 EC1-12 Port-Level Indicators
You can obtain the status of the EC1-12 card ports using the LCD screen on the ONS 15454 fan-tray. Use the LCD to view the status of any port or card slot; the screen displays the number and severity of alarms for a given port or slot.
3.2.6 EC1-12 Specifications
The EC1-12 card specifications are shown in Table 3-2.
3.3 DS1-14 and DS1N-14 Cards
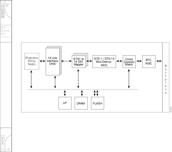
The ONS 15454 DS1-14 card provides 14 Telcordia-compliant, GR-499 DS-1 ports. Each port operates at 1.544 Mbps over a 100 ohm twisted-pair copper cable. The DS1-14 card can function as a working or protect card in 1:1 protection schemes and as a working card in 1:N protection schemes.
The DS1-14 card supports 1:1 protection. The DS1-14 can be a working card in a 1:N protection scheme with the proper backplane EIA and wire-wrap or AMP Champ connectors. You can also provision the DS1-14 to monitor for line and frame errors in both directions.
You can group and map DS1-14 card traffic in STS-1 increments to any other card in an ONS 15454 except DS-3 cards. Each DS-1 is asynchronously mapped into a SONET VT1.5 payload and the card carries a DS-1 payload intact in a VT1.5. For performance monitoring purposes, you can gather bidirectional DS-1 frame-level information (loss of frame, parity errors, cyclic redundancy check [CRC] errors, etc.).
3.3.1 DS1N-14 Features and Functions
The DS1N-14 card supports the same features as the DS1-14 card in addition to enhanced protection schemes. The DS1N-14 is capable of 1:N (N<5) protection with the proper backplane EIA and wire-wrap or AMP Champ connectors. The DS1N-14 card can function as a working or protect card in 1:1 or 1:N protection schemes.
3.3.2 DS1-14 and DS1N-14 Slots and Connectors
•
DS1-14
You can install the DS1-14 card in Slots 1 to 6 or 12 to 17 on the ONS 15454. Each DS1-14 port has DSX-level (digital signal cross-connect frame) outputs supporting distances up to 655 feet.
•
DS1N-14
If you use the DS1N-14 as a standard DS-1 card in a 1:1 protection group, you can install the DS1N-14 card in Slots 1 to 6 or 12 to 17 on the ONS 15454. If you use the card's 1:N functionality, you must install a DS1N-14 card in Slots 3 and 15. Each DS1N-14 port features DSX-level outputs supporting distances up to 655 feet depending on facility conditions.
3.3.3 DS1-14 and DS1N-14 Faceplate and Block Diagram
Figure 3-2 shows the DS1-14 faceplate and the block diagram of the card.
Figure 3-2 DS1-14 Faceplate and Block Diagram
Figure 3-3 shows the DS1N-14 faceplate and a block diagram of the card.
Figure 3-3 DS1N-14 Faceplate and Block Diagram
3.3.4 DS1-14 and DS1N-14 Hosted by the Cross-Connect
All 14 VT1.5 payloads from DS1-14 and DSIN-14 cards are carried in a single STS-1 to the XCVT or XC10G card where the payload is further aggregated for efficient STS-1 transport. The XC10G and XCVT cards manage up to 336 bidirectional VT1.5 ports.
3.3.5 DS1-14 and DS1N-14 Card-Level Indicators
The DS1-14 and DS1N-14 card faceplate has three LEDs shown in Table 3-3.
3.3.6 DS1-14 and DS1N-14 Port-Level Indicators
You can obtain the status of the DS1-14 and DS1N-14 card ports using the LCD screen on the ONS 15454 fan-tray assembly. Use the LCD to view the status of any port or card slot; the screen displays the number and severity of alarms for a given port or slot.
3.3.7 DS1-14 and DS1N-14 Specifications
Table 3-4 shows the DS1-14 and DS1N-14 card specifications.
3.4 DS3-12 and DS3N-12 Cards
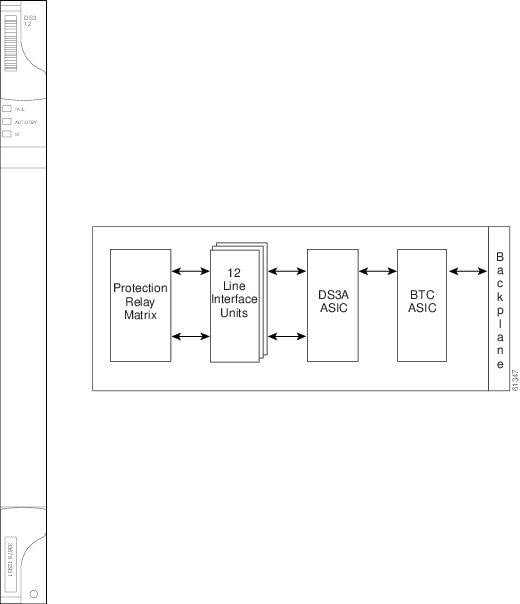
The ONS 15454 DS3-12 card provides 12 Telcordia-compliant, GR-499 DS-3 ports per card. Each port operates at 44.736 Mbps over a single 75 ohm 728A or equivalent coaxial span. The DS3-12 card operates as a working or protect card in 1:1 protection schemes and as a working card in 1:N protection schemes.
The DS3-12 card supports 1:1 protection with the proper backplane EIA. EIAs are available with BNC or SMB connectors.
CautionWhen a protection switch moves traffic from the DS3-12 working/active card to the DS3-12 protect/standby card, ports on the now active/standby card cannot be taken out of service. Lost traffic can result if you take a port out of service even if the DS3-12 standby card no longer carries traffic.
3.4.1 DS3N-12 Features and Functions
Other than the protection capabilities, the DS3-12 and DS3N-12 cards are identical. The DS3N-12 can operate as the protect card in a 1:N (N<5) DS-3 protection group. It has additional circuitry not present on the basic DS3-12 card that allows it to protect up to five working DS3-12 cards. The basic DS3-12 card can only function as the protect card for one other DS3-12 card.
3.4.2 DS3-12 and DS3N-12 Slots and Connectors
You can install the DS3-12 or DS3N-12 card in Slots 1 to 6 or 12 to 17 on the ONS 15454. Each DS3-12 or DS3N-12 card port features DSX-level outputs supporting distances up to 450 feet (137 meters) depending on facility conditions. With the proper backplane EIA, the card supports BNC or SMB connectors.
3.4.3 DS3-12 and DS3N-12 Faceplate and Block Diagram
Figure 3-4 shows the DS3-12 faceplate and a block diagram of the card.
Figure 3-4 DS3-12 Faceplate and Block Diagram
Figure 3-5 shows the DS3N-12 faceplate and a diagram of the card.
Figure 3-5 DS3N-12 Faceplate and Block Diagram
3.4.4 DS3-12 and DS3N-12 Card-Level Indicators
The DS3-12 and DS3N-12 card faceplates have three LEDs shown in Table 3-5.
3.4.5 DS3-12 and DS3N-12 Port-Level Indicators
You can find the status of the 12 DS3-12 and 12 DS3N-12 card ports using the LCD screen on the ONS 15454 fan-tray assembly. Use the LCD to view the status of any port or card slot; the screen displays the number and severity of alarms for a given port or slot.
3.4.6 DS3-12 and DS3N-12 Specifications
Table 3-6 shows the DS3-12 and DS3N-12 card specifications.
3.5 DS3-12E and DS3N-12E Cards
The ONS 15454 DS3-12E card provides 12 Telcordia-compliant ports per card. Each port operates at 44.736 Mbps over a single 75 ohm 728A or equivalent coaxial span. The DS3-12E card provides enhanced performance monitoring functions. The DS3-12E can detect several different errored logic bits within a DS-3 frame. This function allows the ONS 15454 to identify a degrading DS-3 facility caused by upstream electronics (DS-3 Framer). In addition, DS3 frame format auto detection and J1 path trace are supported. By monitoring additional overhead in the DS-3 frame, subtle network degradations can be detected.
The following list summarizes DS3-12E card features:
•
Provisionable framing format M23, C-bit or unframed
•
Autorecognition and provisioning of incoming framing
•
P-bit monitoring
•
C-bit parity monitoring
•
X-bit monitoring
•
M-bit monitoring
•
F-bit monitoring
•
Far-end block errors (FEBE) monitoring
•
Far-end alarm and control (FEAC) status and loop code detection
•
Path trace byte support with TIM-P alarm generation
The DS3-12E supports a 1:1 protection scheme, meaning it can operate as the protect card for one other DS3-12E card.
3.5.1 DS3N-12E Features and Functions
The DS3N-12E can operate as the protect card in a 1:N (N<5) DS-3 protection group. It has additional circuitry not present on the basic DS3-12E card that allows it to protect up to five working DS3-12E cards. The basic DS3-12E card can only function as the protect card for one other DS3-12E card.
3.5.2 DS3-12E and DS3N-12E Slots and Connectors
You can install the DS3-12E and DS3N-12E cards in Slots 1 to 6 or 12 to 17 on the ONS 15454. Each DS3-12E and DS3N-12E port features DSX-level outputs supporting distances up to 450 feet (137 meters). With the proper backplane EIA, the card supports BNC or SMB connectors.
3.5.3 DS3-12E Faceplate and Block Diagram
Figure 3-6 shows the DS3-12E faceplate and a diagram of the card.
Figure 3-6 DS3-12E Faceplate and Block Diagram
Figure 3-7 shows the DS3N-12E faceplate and a diagram of the card.
Figure 3-7 DS3N-12E Faceplate and Block Diagram
3.5.4 DS3-12E and DS3N-12E Card-Level Indicators
The DS3-12E and DS3-12E card faceplate has three LEDs shown in Table 3-7.
3.5.5 DS3-12E and DS3N-12E Port-Level Indicators
You can find the status of the DS3-12E and DS3N-12E card ports using the LCD screen on the ONS 15454 fan-tray assembly. Use the LCD to quickly view the status of any port or card slot; the screen displays the number and severity of alarms for a given port or slot.
3.5.6 DS3-12E and DS3N-12E Specifications
The DS3-12E and DS3N-12E card specifications are shown in Table 3-8.
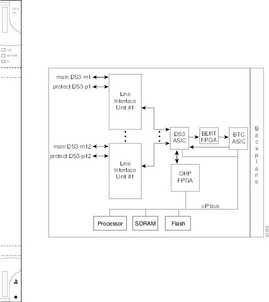
3.6 DS3XM-6 Card
The DS3XM-6 card, commonly referred to as a transmux card, provides six Telcordia-compliant, GR-499-CORE M13 multiplexing functions. The DS3XM-6 converts six framed DS-3 network connections to 28x6 or 168 VT1.5s. You cannot create circuits from a DS3XM-6 card to a DS-3 card. DS3XM-6 cards operate at the VT1.5 level.
3.6.1 DS3XM-6 Slots and Connectors
The DS3XM-6 card supports 1:1 protection with the proper backplane EIA. EIAs are available with BNC or SMB connectors.
You can install the DS3XM-6 in Slots 1 to 6 or 12 to 17. Each DS3XM-6 port features DSX-level outputs supporting distances up to 450 feet (137 meters) depending on facility conditions.
3.6.2 DS3XM-6 Faceplate and Block Diagram
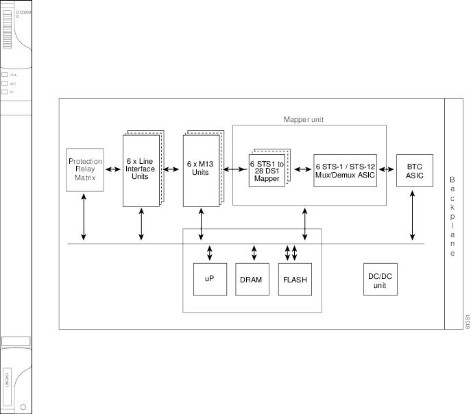
Figure 3-8 shows the DS3XM-6 faceplate and a block diagram of the card.
Figure 3-8 DS3XM-6 Faceplate and Block Diagram
3.6.3 DS3XM-6 Hosted By XCVT
The DS3XM-6 card works in conjunction with the XCVT card. A single DS3XM-6 can demultiplex (map down to a lower rate) six DS-3 signals into 168 VT1.5s that the XCVT card then manages and cross connects. XCVT cards host a maximum of 336 bidirectional VT1.5s or two DS3XM-6 cards. In most network configurations two DS3XM-6 cards are paired together as working and protect cards.
3.6.4 DS3XM-6 Card-Level Indicators
The DS3XM-6 card faceplate has three LEDs, see Table 3-9.
3.6.5 DS3XM-6 Port-Level Indicators
You can find the status of the six DS3XM-6 card ports using the LCD screen on the ONS 15454 fan-tray assembly. Use the LCD to quickly view the status of any port or card slot; the screen displays the number and severity of alarms for a given port or slot.
3.6.6 DS3XM-6 Specifications
The DS3XM-6 card specifications are shown in Table 3-10.
3.7 Electrical Card Comparisons
Table 3-11 shows the power requirements of the electrical cards.
Table 3-12 shows the temperature ranges of the electrical cards.
Feedback









